
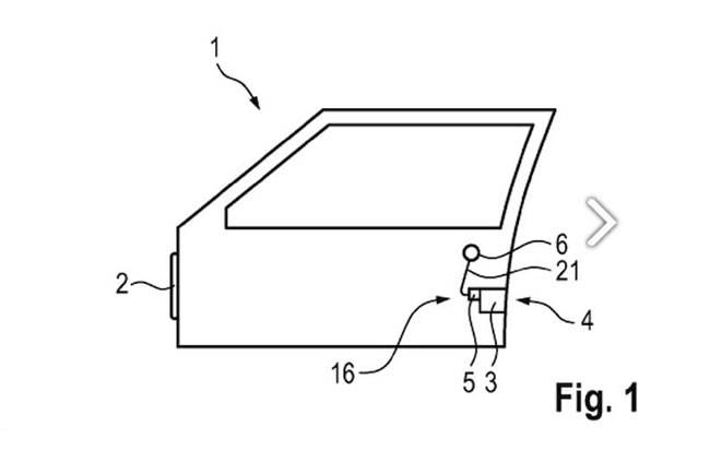
据外媒报道,大众汽车(Volkswagen)近日为其全新的车门解锁系统向德国专利商标局(German Patent and Trade Mark Office)申请了专利。

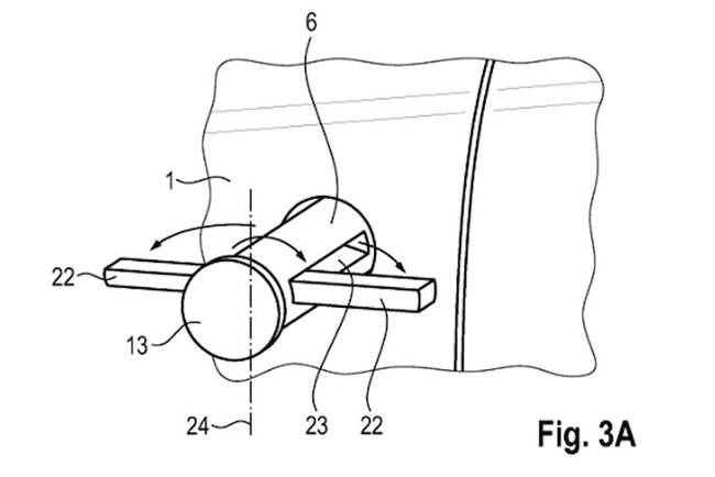
专利中,该车把手在非使用时会沉入门内,使用时会向外突出。当向外移动时,两个杆状握把元件会从侧面弹起,允许用户旋转手柄。
根据大众汽车应用程序,这款新门锁旨在实现简化操作。此外,它还允许将更多的扭矩施加到手柄上,即可更容易扭动带有两个尖头的锁。
该旋转门锁不与实体门锁耦合,且部分仍然通过执行器以电子方式完成。但该新的专利锁仍将依靠驾驶员或乘客施加一定的扭矩,然后通知执行器打开车门。

该专利的具体原理如下:当门关闭时,门把手将只不过是一个与车身齐平的小圆形槽。弹簧杆在不使用时会在把手内折回,这意味着车锁仅占小部分汽车表面积。
该车锁主要有两个优势,其一是其更符合空气动力学的齐平设计,而汽车越平滑,效率就越高。目前市场上的几乎所有电动汽车都在尽可能减少阻力。虽然这些车把手可能不会减少太多阻力,但还是会有一点帮助,如或可将大众ID. Buzz的续航里程增加10英里。
其二是由于车锁表面积较小,因此颗粒不太可能进入门把手,或可有益于经常经受恶劣条件的汽车。最后,这个门把手或可成为一个重要设计特色。带有安全门把手的越野车将成为独特卖点。
文章转自“盖世汽车快讯”
版权声明:本网站部分内容转载于合作站点或其他站点,但都会注明作/译者和原出处,转载只为分享,如有侵权,请联系我们删除。
0
行业动态
2023年9月25日,由汽配圈主办,三头六臂总冠名,超级工厂联盟、西安海纳汽车服务有限公司、玉林汽配、西安成长国际汽配欢乐港协办的“2023中国(陕西)汽车后市场服务业发展论坛暨陕西省汽车后市场优秀服务商颁奖典礼”盛大开幕。
2023-09-25
行业动态
2023年9月25日,由汽配圈主办,三头六臂总冠名,超级工厂联盟、西安海纳汽车服务有限公司、玉林汽配、西安成长国际汽配欢乐港协办的“2023中国(陕西)汽车后市场服务业发展论坛暨陕西省汽车后市场优秀服务商颁奖典礼”盛大开幕。
2023-09-25
行业动态
2023年9月25日,由汽配圈主办,三头六臂总冠名,超级工厂联盟、西安海纳汽车服务有限公司、玉林汽配、西安成长国际汽配欢乐港协办的“2023中国(陕西)汽车后市场服务业发展论坛暨陕西省汽车后市场优秀服务商颁奖典礼”盛大开幕。
2023-09-25
行业动态
2023年9月25日,由汽配圈主办,三头六臂总冠名,超级工厂联盟、西安海纳汽车服务有限公司、玉林汽配、西安成长国际汽配欢乐港协办的“2023中国(陕西)汽车后市场服务业发展论坛暨陕西省汽车后市场优秀服务商颁奖典礼”盛大开幕。本次大会邀请了陕西省优秀渠道商(全车件、易损件),终端维修服务商,全国汽车后市场不同产品线生产厂商,以及陕西省商协会、联盟单位,汽车后市场资深从业者和专业媒体共同参会,大家欢聚
2023-09-25
一周点击排行
推荐阅读2023年9月25日,由汽配圈主办,三头六臂总冠名,超级工厂联盟、西安海纳汽车服务有限公司、玉林汽配、西安成长国际汽配欢乐港协办的“2023中国(陕西)汽车后市场服务业发展论坛暨陕西省汽车后市场优秀服务商颁奖典礼”盛大开幕。
2023年9月25日,由汽配圈主办,三头六臂总冠名,超级工厂联盟、西安海纳汽车服务有限公司、玉林汽配、西安成长国际汽配欢乐港协办的“2023中国(陕西)汽车后市场服务业发展论坛暨陕西省汽车后市场优秀服务商颁奖典礼”盛大开幕。
2023年9月25日,由汽配圈主办,三头六臂总冠名,超级工厂联盟、西安海纳汽车服务有限公司、玉林汽配、西安成长国际汽配欢乐港协办的“2023中国(陕西)汽车后市场服务业发展论坛暨陕西省汽车后市场优秀服务商颁奖典礼”盛大开幕。
2023年9月25日,由汽配圈主办,三头六臂总冠名,超级工厂联盟、西安海纳汽车服务有限公司、玉林汽配、西安成长国际汽配欢乐港协办的“2023中国(陕西)汽车后市场服务业发展论坛暨陕西省汽车后市场优秀服务商颁奖典礼”盛大开幕。本次大会邀请了陕西省优秀渠道商(全车件、易损件),终端维修服务商,全国汽车后市场不同产品线生产厂商,以及陕西省商协会、联盟单位,汽车后市场资深从业者和专业媒体共同参会,大家欢聚