
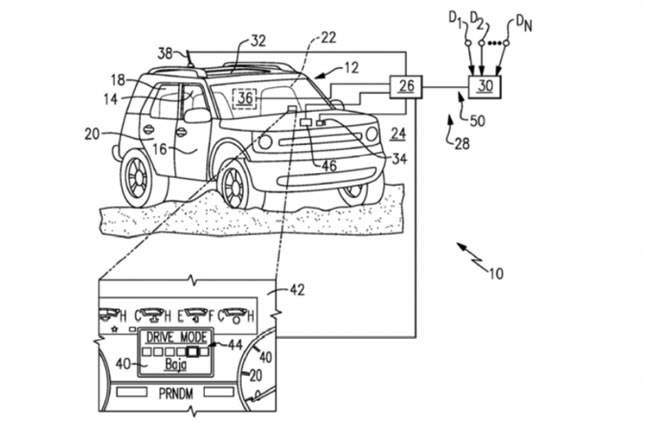
据外媒报道,福特汽车公司(Ford Motor Company)为其分离室外较差空气的系统向美国专利商标局申请了专利。

随着空气质量变得越来越差,且在某些地区已构成严重问题,汽车制造商不断努力进行研发,以过滤车厢内的有害污染、过敏原等其他有害物质。如福特近日为林肯飞行家(Lincoln Aviator)增加了一个可选的自动空气刷新系统(Auto Air Refresh System),并从去年开始在部分车辆中推出一系列先进的、新标准认证的机舱空气过滤器,即Refresh95。
福特新专利采用的方法与先前略有不同。该系统的工作方式与所处环境类型相关,从而在车厢内提供新鲜空气。例如,当驾驶员将车辆切换到越野驾驶模式时,正如专利图中所示的Baja模式,车辆会自动发出一个命令,将内部与灰尘等物体隔离开来。

此外,该专利还提到,如果车辆检测到诸如越野时发生的尘土飞扬的情况,该系统还可以自动将HVAC系统切换到再循环模式,甚至可以关闭打开的窗户或天窗。除了可在选择驾驶模式时进行这些更改外,该系统还可以使用发射器、传感器和摄像头来检测空气质量何时变差。
随着全球空气质量不断下降,以及很多人出行选择小路,该系统或可非常有意义,但具体是否实现还有待商榷。
文章转自“盖世汽车快讯”
版权声明:本网站部分内容转载于合作站点或其他站点,但都会注明作/译者和原出处,转载只为分享,如有侵权,请联系我们删除。
0
行业动态
2023年9月25日,由汽配圈主办,三头六臂总冠名,超级工厂联盟、西安海纳汽车服务有限公司、玉林汽配、西安成长国际汽配欢乐港协办的“2023中国(陕西)汽车后市场服务业发展论坛暨陕西省汽车后市场优秀服务商颁奖典礼”盛大开幕。
2023-09-25
行业动态
2023年9月25日,由汽配圈主办,三头六臂总冠名,超级工厂联盟、西安海纳汽车服务有限公司、玉林汽配、西安成长国际汽配欢乐港协办的“2023中国(陕西)汽车后市场服务业发展论坛暨陕西省汽车后市场优秀服务商颁奖典礼”盛大开幕。
2023-09-25
行业动态
2023年9月25日,由汽配圈主办,三头六臂总冠名,超级工厂联盟、西安海纳汽车服务有限公司、玉林汽配、西安成长国际汽配欢乐港协办的“2023中国(陕西)汽车后市场服务业发展论坛暨陕西省汽车后市场优秀服务商颁奖典礼”盛大开幕。
2023-09-25
行业动态
2023年9月25日,由汽配圈主办,三头六臂总冠名,超级工厂联盟、西安海纳汽车服务有限公司、玉林汽配、西安成长国际汽配欢乐港协办的“2023中国(陕西)汽车后市场服务业发展论坛暨陕西省汽车后市场优秀服务商颁奖典礼”盛大开幕。本次大会邀请了陕西省优秀渠道商(全车件、易损件),终端维修服务商,全国汽车后市场不同产品线生产厂商,以及陕西省商协会、联盟单位,汽车后市场资深从业者和专业媒体共同参会,大家欢聚
2023-09-25
一周点击排行
推荐阅读2023年9月25日,由汽配圈主办,三头六臂总冠名,超级工厂联盟、西安海纳汽车服务有限公司、玉林汽配、西安成长国际汽配欢乐港协办的“2023中国(陕西)汽车后市场服务业发展论坛暨陕西省汽车后市场优秀服务商颁奖典礼”盛大开幕。
2023年9月25日,由汽配圈主办,三头六臂总冠名,超级工厂联盟、西安海纳汽车服务有限公司、玉林汽配、西安成长国际汽配欢乐港协办的“2023中国(陕西)汽车后市场服务业发展论坛暨陕西省汽车后市场优秀服务商颁奖典礼”盛大开幕。
2023年9月25日,由汽配圈主办,三头六臂总冠名,超级工厂联盟、西安海纳汽车服务有限公司、玉林汽配、西安成长国际汽配欢乐港协办的“2023中国(陕西)汽车后市场服务业发展论坛暨陕西省汽车后市场优秀服务商颁奖典礼”盛大开幕。
2023年9月25日,由汽配圈主办,三头六臂总冠名,超级工厂联盟、西安海纳汽车服务有限公司、玉林汽配、西安成长国际汽配欢乐港协办的“2023中国(陕西)汽车后市场服务业发展论坛暨陕西省汽车后市场优秀服务商颁奖典礼”盛大开幕。本次大会邀请了陕西省优秀渠道商(全车件、易损件),终端维修服务商,全国汽车后市场不同产品线生产厂商,以及陕西省商协会、联盟单位,汽车后市场资深从业者和专业媒体共同参会,大家欢聚