
据外媒报道,为了提高未来客户的舒适度,日本的本田汽车公司(Honda)提出新的电动悬架系统专利解决方案。该系统即使持续承受大量压力,也不会停止正常工作。

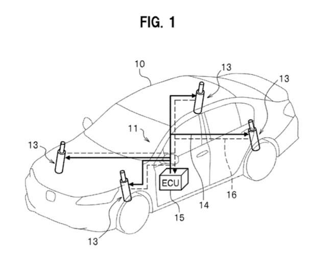
通常情况下,电动悬架系统中包括一个电磁致动器(安装在车体和车轮之间),通过电机产生驱动力,以用于减振和伸缩。电磁致动器中除了电机外,还包括滚珠丝杠机构(ball screw mechanism)。电磁致动器的作用是将电机的旋转运动转化为丝杠机构的直线运动,从而产生减振和伸缩的驱动力。
此外,已知有另一种技术,通过持续监控电机的温度,确定电机电流是否处于过度发热状态。当电机温度超过预定温度,对电机电流进行限制,从而保护车辆上安装的电机免受损害。
假设这种普通的电动悬架系统具有上述电机保护技术。在电机过度发热的状态下,电流受到控制,电磁致动器产生的阻尼力比正常状态下弱。这样,就无法充分控制非簧载振动(unsprung vibration),因此车辆行为可能受到干扰。同样,在过热状态下,电磁致动器的伸缩力较正常状态有所减弱。然后,举例来说,车辆可能无法基于天钩阻尼控制(skyhook control)保持稳定的状态,从而影响乘坐舒适性。
此项发明基于上述问题而开发。根据美国专利商标局(USPTO)的文件,本田希望制造一种改进的悬架系统。该系统采用电力、致动器、磁铁、计算机和其他相关部件,如频率或温度传感器。其目标是即使在高温环境中继续工作负载,也要为整个总成实现适当的工作条件。
基本上来说,本田公司希望,该电动悬架系统能够对车辆进行振动控制,同时不改变或影响乘坐舒适性。即使电磁致动器中的电机处于过热状态,也尽可能地提高车辆的性能。
为了随时随地充分提升效率和可靠性,这家日本汽车制造商采用了已提供给客户的标准解决方案,并对其进行了改进,从而得出新方案。有趣的是,本田发明了一种微型机器,可以计算出各处可能的伸展或收缩力,以便在一定范围内采取必要的应对措施。如果这些预定义参数被打破,那么故障保险将作为临时指导,以支持整个总成运行,使汽车尽可能保持舒适状态。
专利文件中表示,这项发明不会“干扰车辆的行为”。即使温度过高,集成到电磁致动器中的电机无法按预期运行,也能够执行振动控制。当然,获得专利不代表一定会投入生产。该汽车公司可以选择实施方式,或者仅使用新系统的某些部分,对其他系统进行一定的改进。
文章转自“盖世汽车快讯”
版权声明:本网站部分内容转载于合作站点或其他站点,但都会注明作/译者和原出处,转载只为分享,如有侵权,请联系我们删除。
0
行业动态
2023年9月25日,由汽配圈主办,三头六臂总冠名,超级工厂联盟、西安海纳汽车服务有限公司、玉林汽配、西安成长国际汽配欢乐港协办的“2023中国(陕西)汽车后市场服务业发展论坛暨陕西省汽车后市场优秀服务商颁奖典礼”盛大开幕。
2023-09-25
行业动态
2023年9月25日,由汽配圈主办,三头六臂总冠名,超级工厂联盟、西安海纳汽车服务有限公司、玉林汽配、西安成长国际汽配欢乐港协办的“2023中国(陕西)汽车后市场服务业发展论坛暨陕西省汽车后市场优秀服务商颁奖典礼”盛大开幕。
2023-09-25
行业动态
2023年9月25日,由汽配圈主办,三头六臂总冠名,超级工厂联盟、西安海纳汽车服务有限公司、玉林汽配、西安成长国际汽配欢乐港协办的“2023中国(陕西)汽车后市场服务业发展论坛暨陕西省汽车后市场优秀服务商颁奖典礼”盛大开幕。
2023-09-25
行业动态
2023年9月25日,由汽配圈主办,三头六臂总冠名,超级工厂联盟、西安海纳汽车服务有限公司、玉林汽配、西安成长国际汽配欢乐港协办的“2023中国(陕西)汽车后市场服务业发展论坛暨陕西省汽车后市场优秀服务商颁奖典礼”盛大开幕。本次大会邀请了陕西省优秀渠道商(全车件、易损件),终端维修服务商,全国汽车后市场不同产品线生产厂商,以及陕西省商协会、联盟单位,汽车后市场资深从业者和专业媒体共同参会,大家欢聚
2023-09-25
一周点击排行
推荐阅读2023年9月25日,由汽配圈主办,三头六臂总冠名,超级工厂联盟、西安海纳汽车服务有限公司、玉林汽配、西安成长国际汽配欢乐港协办的“2023中国(陕西)汽车后市场服务业发展论坛暨陕西省汽车后市场优秀服务商颁奖典礼”盛大开幕。
2023年9月25日,由汽配圈主办,三头六臂总冠名,超级工厂联盟、西安海纳汽车服务有限公司、玉林汽配、西安成长国际汽配欢乐港协办的“2023中国(陕西)汽车后市场服务业发展论坛暨陕西省汽车后市场优秀服务商颁奖典礼”盛大开幕。
2023年9月25日,由汽配圈主办,三头六臂总冠名,超级工厂联盟、西安海纳汽车服务有限公司、玉林汽配、西安成长国际汽配欢乐港协办的“2023中国(陕西)汽车后市场服务业发展论坛暨陕西省汽车后市场优秀服务商颁奖典礼”盛大开幕。
2023年9月25日,由汽配圈主办,三头六臂总冠名,超级工厂联盟、西安海纳汽车服务有限公司、玉林汽配、西安成长国际汽配欢乐港协办的“2023中国(陕西)汽车后市场服务业发展论坛暨陕西省汽车后市场优秀服务商颁奖典礼”盛大开幕。本次大会邀请了陕西省优秀渠道商(全车件、易损件),终端维修服务商,全国汽车后市场不同产品线生产厂商,以及陕西省商协会、联盟单位,汽车后市场资深从业者和专业媒体共同参会,大家欢聚